
WRE2-520活動法蘭防濺式直角雙支熱電偶簡介
上海自動化儀表三廠WR系列裝配式熱電偶是溫度測量儀表中常用的測溫元件,本廠生產的WRE2-520活動法蘭防濺式直角雙支熱電偶可以直接測量各種工業生產過程中從0℃~600℃范圍內的液體、氣體、蒸汽及固體表面的溫度,并把溫度信號轉換成熱電動勢信號,通過二次儀表轉換成被測介質的溫度。在實際應用中熱電偶有多種結構方式,但工作原理都是一樣的,因其結構簡單、制造方便、測溫范圍廣、精度高、慣性小和輸出信號便于遠傳等優點,所以在工業生產過程中得到極為廣泛的運用。
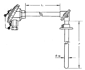
WRE2-520活動法蘭防濺式直角雙支熱電偶主要技術參數
◆測量范圍:0-600℃
◆分度號:E分度
◆精度等級:Ⅰ級(±1.5℃或±0.004|t|)Ⅱ級(±2.5℃或±0.0075|t|)
◆熱電偶類別:雙支鎳鉻-銅鎳
◆保護管直徑:16mm
◆保護管材質:不銹鋼304、321、316或其它
◆熱響應時間:T0.5<90S(在溫度出現階躍變化時,熱電偶的輸出變化至相當于該變化的50%,所需要的時間稱為熱響應時間,用T0.5表示)。
◆熱電偶公稱壓力:無(一般是指在室溫情況下保護管所能承受的靜態外壓而不破裂。實際上容許工作壓力不僅與保護管材料、直徑壁厚有關,還與其結構形式,安裝方法,置入深度以及被測介質的流速和種類等有關)。
◆熱電偶置入深度:l=100mm或應不小于其保護管外徑的8~10倍(特殊產品例外)。
◆熱電偶絕緣電阻(常溫):常溫絕緣電阻的試驗電壓為直流500V±50V,大氣條件為溫度15~35℃,相對濕度45%,大氣壓力86~106kPa,它的常溫絕緣值應≥100MΩ。
◆執行標準:JB/T9238-1999
裝配式熱電偶工作原理
當有兩種不同的導體,其兩端相互焊接時,兩結點處的溫度不同,一端溫度為測量端或工作端,另一端溫度為自由端或冷端,當兩端溫度存在溫差時,就會在回路時產生熱電流,配上顯示儀表,儀表上就能顯示出熱電偶所產生的熱電動勢的對應溫度值。熱電偶的熱電動勢將隨著測量端或工作端的溫度升高而增長,熱電偶的熱電動勢的大小只和導體材質及兩端溫差有關,和導體的長度、直徑無關。
裝配式熱電偶使用選型

型號舉例
WRN-520表示K分度活動法蘭帶防濺式接線盒,保護管直徑16mm的直角裝配式熱電偶。
WRE-520表示E分度活動法蘭帶防濺式接線盒,保護管直徑16mm的直角裝配式熱電偶。
WRN2-520表示K分度活動法蘭帶防濺式接線盒,保護管直徑16mm的雙支直角裝配式熱電偶。
WRE2-520表示E分度活動法蘭帶防濺式接線盒,保護管直徑16mm的雙支直角裝配式熱電偶。
裝配式熱電偶安裝圖片
WRE2-520活動法蘭防濺式直角雙支熱電偶
法蘭外徑70mm 中心距54mm



客服1