
WZPN-330活動法蘭涂層耐磨熱電阻簡介
在某些特殊場合,如化工廠、冶煉廠、火電廠、制藥廠等,必須用特殊材料和結構的熱電偶熱電阻,上海自動化儀表三廠自90年代以來已開發和生產了各種規格型號的耐磨型熱電偶熱電阻供客戶使用,并得到了廣大客戶的認可,本系列產品目前有三種,其材料硬度HRC58~62,測溫范圍0-600℃、0-800℃和0-1000℃,本廠生產的WZPN-330活動法蘭涂層耐磨熱電阻,被廣泛用于化工廠、冶煉廠、火電廠等工作場所。
WZPN-330活動法蘭涂層耐磨熱電阻主要技術參數
◆測量范圍:-200~420℃
◆分度號:Pt100
◆精度等級:A級 ±(0.15℃+0.002|t|),B級 ±(0.30℃+0.005|t|)
◆保護管直徑:Φ16mm
◆保護管材質:不銹鋼304,321或其它
◆熱電阻接線:三線制接線,四線制接線。
◆熱響應時間:T0.5≤90S(在溫度出現階躍變化時,熱電阻的輸出變化至相當于該變化的50%,所需要的時間稱為熱響應時間,用T0.5表示)。
◆熱阻阻公稱壓力:常壓(一般是指在室溫情況下保護管所能承受的靜態外壓而不破裂。實際上,容許工作壓力不僅與保護管材料、直徑壁厚有關,還與其結構形式,安裝方法,置入深度以及被測介質的流速和種類等有關)。
◆熱電阻最小置入深度:l=100mm或應不小于其保護管外徑的5-8倍。
◆熱電阻自熱影響:通過熱電阻中測量電流5mA時,測得的電阻增量換算成溫度值應不大于0.30℃。
◆熱電阻絕緣電阻:常溫絕緣電阻的試驗電壓可取直流10~100V任意值,環境溫度在15~35℃范圍內,相對濕度應不大于80%。常溫絕緣電阻值應不小于100MΩ。
◆執行標準:JB/T8622-1997標準
耐磨熱電阻結構原理
熱電阻是一種溫度傳感器,它是利用鉑絲在溫度變化時自身電阻也隨著變化的特性來測量溫度的,鉑電阻是由感溫元件、不銹鋼外保護管、接線盒以及各種用途的固定裝置組成,有雙支和單支元件兩種規格,雙支鉑電阻可以同時輸出二組相同電阻信號供使用,不銹鋼保護管不但具有抗腐蝕性能,而且具有足夠的機械強度,保證鉑電阻能安全地使用在各種場合。
耐磨熱電阻型號舉例:
WZPN-330表示Pt100分度號帶防水接線盒,保護管Φ16mm的活動法蘭涂層耐磨熱電阻
WZPN-331表示Pt100分度號帶防水接線盒,保護管Φ12mm的活動法蘭涂層耐磨熱電阻
WZCN-330表示Cu50分度號帶防水接線盒,保護管Φ12mm的活動法蘭涂層耐磨熱電阻
WZPN2-330表示Pt100分度號帶防水接線盒,保護管Φ16mm的活動法蘭涂層耐雙支磨熱電阻
WZPN2-331表示Pt100分度號帶防水接線盒,保護管Φ12mm的活動法蘭涂層雙支耐磨熱電阻
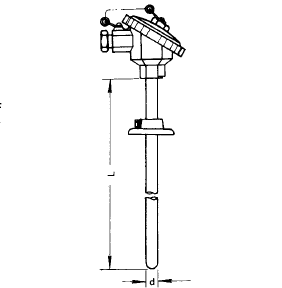
耐磨熱電阻安裝圖片
WZPN-330活動法蘭涂層耐磨熱電阻(法蘭外徑70中心距54,d=16+1.5)



客服1